Honda prépare l'évolution du X-ADV
Un nouvel éclairage et un silencieux haut brevetés par le constructeur japonais
Des modifications qui n'interviendront pas avant au moins 2025
Dans la lignée du retour aux affaires du trail Africa Twin, Honda tentait un pari osé fin 2015 en présentant le concept d'un scooter trail avec son City Adventure. Un an plus tard, le constructeur nippon levait le voile sur le X-ADV et inaugurait un nouveau segment de marché avec le succès qu'on lui connait (60.000 immatriculations en Europe).
Alors qu'il a connu un première évolution esthétique, technique et technologique il y a deux ans et qu'il a été rejoint en France par une plus petite version avec l'ADV350, le SUV sur deux roues pourrait prochainement changer de forme. Pas étonnant au regard de la concurrence grandissante.
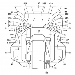
Le constructeur japonais a en effet déposé de nouveau brevets au Japon qui s'appuient clairement sur la base du scooter existant, mais avec d'importantes modifications au niveau de l'avant et de l'arrière du scooter. Le document porte d'ailleurs tout particulièrement sur l'éclairage dudit modèle.
Alors que les phares avant sont aujourd'hui présent au centre de la face avant, il sont ici abaissés sous le nez, un peu comme le fait Yamaha sur ses sportives. On retrouverait alors trois LED lenticulaires pour l'éclairage et une ligne de LED supérieure pour l'éclairage diurne. Chaque paire de LED servirait ici à une utilisation différente avec la LED intérieure pour les feux de croisement, la LED centrale pour les pleins phares et la LED extérieure pour l'éclairage en courbe.

L'autre changement radical, c'est à l'arrière qu'il se situe. En effet, on constate que le silencieux se retrouve placé en position haute sur le flanc droit alors qu'il est installé plus bas depuis la première génération du X-ADV.
Par ailleurs, Honda France a déjà présenté le millésime 2024 du X-ADV cet été et on sait déjà que le constructeur va se contenter d'ajouter de nouveaux coloris à son scooter. Autrement dit, si les modifications présentées dans le brevet devaient être appliquées au modèle de série, celles-ci n'interviendraient pas avant au moins 2025.





Commentaires
Les passagers vont apprécier😁
05-09-2023 10:49