Yamaha s'intéresse au Turbo électrique
Un nouveau brevet autour d'un système suralimenté à compresseur électrique
Un projet proche du V3 Honda, également pour le 3 cylindres ?
Lors du Salon EICMA de Milan en novembre dernier, Honda a fait sensation à plus d'un titre, d'abord avec sa Hornet 1000, mais surtout par la promesse de sa future plateforme V3 suralimentée. Une plateforme de moyenne cylindrée très compacte dotée d'un compresseur électrique pour ajuster l'admission indépendamment du régime moteur.
Compact et dynamique. Même dès les bas régimes. L'idée est on ne peut plus séduisante et connaissant les capacités du numéro un mondial, qui vient au passage de franchir les 500 millions de motos produites, la concurrence n'a pas tardé à répondre.
Yamaha a en effet de déposer plusieurs demandes de brevet autour de son propre système de moteur thermique suralimenté par un compresseur électrique. À vrai dire, la marque aux trois diapasons étudie la suralimentation depuis plusieurs années maintenant, un prototype basé sur un moteur suralimenté de MT-09 logé dans un châssis de MT-10 avait même été vu dès 2020. Un bicylindre turbo fut également évoqué un an plus tôt.
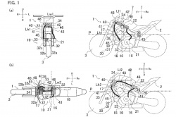
Si l'on pensait que le sujet avait été mis de côté, la publication de nouvelles demandes relance le dossier. Il s'agit ici d'un système au fonctionnement assez similaire à celui du V3 Honda puisqu'il s'agit ici d'utiliser un compresseur électrique pour accélérer l'admission d'air à bas régime. Le document porte plus précisément sur le positionnement et la longueur des conduits d'admission et collecteurs du système.
Difficile en revanche de savoir à quel stade de développement se trouve Yamaha ni quel serait le moteur retenu. Le document évoque aussi bien un monocylindre qu'un multicylindre, mais sans plus de précisions.
Toutefois, au vu des précédents brevets, du fait que Yamaha a systématiquement introduit ses dernières innovations sur la plateforme CP3 et du positionnement de Honda, le trois cylindres semble clairement désigné.




Commentaires