Une assistance pour lutter contre les vents latéraux
Honda décline sa technologie d'assistance de direction dans un nouveau brevet
Des alertes par retour haptique en attendant l'intervention physique
Si le secteur de l'automobile a un temps d'avance en matière de technologie embarquée par rapport aux motos, les deux-roues connaissent depuis peu des avancées majeures à ce niveau, notamment grâce à l'introduction des radars sur certaines machines haut de gamme.
Depuis la première présentation de son concept de moto auto-stabilisée, Honda ne manque pas d'idées en matière d'assistances liées à une direction plus ou moins automatisée que ce soit avec un système d'aide au maintien dans la voie ou une aide à la trajectoire.
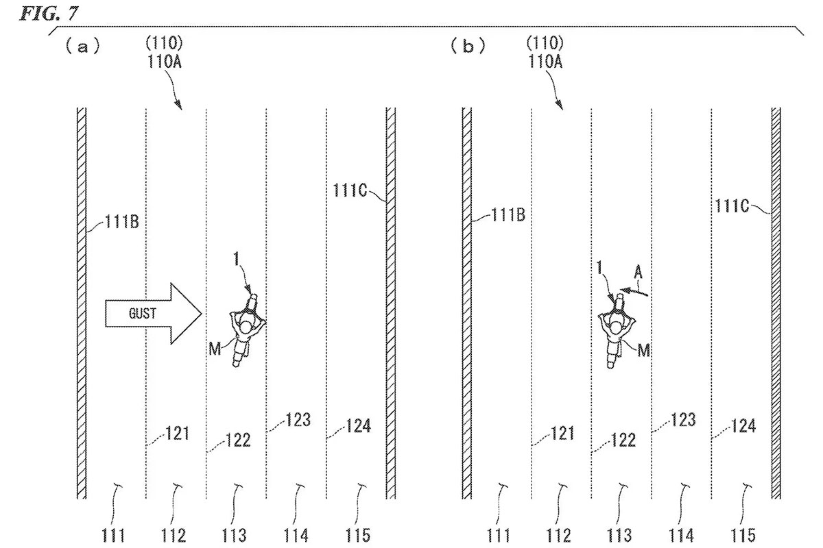
Cette fois, le constructeur japonais a en tête d'aider les motards à lutter contre les coups de vent. Le fond de la technologie reste à peu de choses près identique à celui des précédents brevets portant sur l'assistance de la direction avec un système à mi-chemin entre l'amortisseur actif et la direction automatique.
Un élément vient ainsi se fixer sur la colonne de direction et relier cette dernière au té supérieur via un système de tringlerie. Mais là où un amortisseur de direction stabilise le guidon, l'action est ici inverse puisque le système fait bouger la direction pour stabiliser la moto. Les mouvements sont définis, comme pour toutes les assistances, après traitement par l'ordinateur de bord des différentes données relevées par les capteurs dont est bardée la moto (accélération, vitesse, couple, angle, radar, caméra...).
L'idée est intéressante et pourrait contribuer à sécuriser encore davantage la conduite. Mais pour qu'une assistance fonctionne efficacement, il faut qu'elle soit en mesure de rester suffisamment discrète et de ne pas intervenir trop fréquemment. On se souvient par exemple de ce défaut sur les premières générations d'ABS, alors que l'antiblocage des freins est aujourd'hui parfaitement maitrisé.
En attendant d'intervenir directement sur la direction, Honda pourrait se contenter d'alertes pour améliorer la sécurité du pilote. Le constructeur imagine également un système de retour haptique (vibrations) dans le guidon (à droite ou à gauche) pour alerter le pilote en cas de franchissement de ligne, de véhicule dans l'angle mort...




Commentaires
"alerter le pilote ne cas de franchissement de ligne"
21-02-2024 15:20S'il ne voit plus qu'il a franchi une ligne, faut peut-être qu'il arrête la moto
Chez Honda, ils vont bientôt inventer la moto à 4 roues avec une carrosserie, ça devrait encore augmenter la sécurité.
mdr
Pour les véhicules dans l'angle mort, le signal lumineux dans les rétros c'est pas mal parce que des vibrations dans le guidon ben non merci. Sur un périf ça va bourdonner tout le temps. Quand au reste, bof
21-02-2024 16:52J'attends avec impatience que les japy inventent un truc contre les cons...(quoi que l'on soit toujours le con de quelqu'un...
)
21-02-2024 17:44Salut
21-02-2024 18:34On a tous pris une grosse rafale à deux doigts de nous faire perdre le contrôle.
Ou tout simplement, lorsqu'on arrive à la hauteur de la cabine d'un ensemble routier (semi remorque) lors d'un dépassement...(Mais ça à la limite on s'y attend...)
J'invite donc les ingénieurs Jap's à aller tester leur innovation dans la plaine de La Crau par grand mistral...
Bon, après je reconnais que ce n'est pas non plus tous les jours que la conduite est rendue dangereuse à cause du vent.... On a plus de chances de se gauffrer à cause de la pluie que du vent....
V
Je suis sceptique sur l'utilité de ce gadget sur un deux roues.
21-02-2024 19:51D'une part si on n'a plus les réflexes nécessaires pour contrer une rafale ça peut interroger.
D'autre part ça peut entraîner une gamelle si le système intervient au moment où l'on décide de changer de direction par exemple.
Le système de maintient dans la voie est plus utile sur les longs parcours surtout en voiture où il n'y a pas d'équilibre à gérer.
L'évolution, une théorie connue...
21-02-2024 21:54Manquait plus que ça.
21-02-2024 23:02Ils s'ennuient tant que ça au R&D de chez Honda pour ch... pondre des trucs pareils ?
22-02-2024 09:02Salut
Certes, mais une grosse rafale, c'est imprévisible. Quand ça souffle fort, tu t'y attends, mais des fois, ça surprend.Rouler sur l'A61 du côté de Narbonne par grand vent c'est R'nR
[www.tf1info.fr]
Après, j'avoue que mettre au point un tel système, c'est un véritable défi pour les ingé.
V 22-02-2024 09:19
Toi, visiblement, tu n'en n'as jamais prise une en moto, de préférence trail
La première fois que ça m'est arrivé c'était en 125, à deux sur la TDR. J'ai dépassé un camion, et l'appel d'air m'a expulsé pratiquement contre la ligne de bas coté ... opposé. Pourtant j'avais anticipé en ayant une trajectoire un peu biaise vers le camion.
Ca m'est également arrivé plusieurs fois sur la A15 en Dominator. J'ai même roulé déhanché, le cul sur le coté de la moto, en ligne droite, pour encaisser les chocs liés au passage de chaque pile de pont. Et ça bougeait quand même.
Donc, selon toi, il aurait fallu que j'arrête la moto?!
Parce que franchement, je préfère me prendre une averse de pluie en moto, que de grosses rafales par 3/4 arrière (largue à grand largue pour les voileux) parce que avec la pluie, au moins tu es prévenu. 22-02-2024 10:00
Salut
De préférence sur le viaduc de GennevilliersV 22-02-2024 10:06
Je ne le prenais pas lui, ouf car le plongeoir est haut quand même
22-02-2024 10:10C'est fou comme les ingénieurs s'évertuent à s'attaquer aux problèmes complexes alors les problèmes aux solutions simples sont mises de côté.
22-02-2024 12:24Prenons l'exemple d'une assistance pour lutter contre les VENTS DE FACE.
Honda continue de fixer sur bon nombre de ses motos/scooters des petits bouts de plastique - pas toujours réglables - pompeusement appelés parebrise.
Les essais qui paraissent sur LRDM démontrent régulièrement la perfectibilité de ces appendices, ce qui oblige le motard soit à s'en accommoder, soit à opter pour une alternative chez un accessoiriste (qui ne sera pas forcément la solution miracle).
C'est con d'avoir payé pour un parebrise qui ne donne pas satisfaction ou qui finit sur une étagère.
+1.
Des rafales suffisantes pour m'envoyer sur la voie d'en face, ce n'est pas courant, mais ça m'est arrivé. Et dans ce cas, on est content qu'il n'y ait pas de voiture ...
Ou sinon, rouler à deux déhanchés parce qu'en sortie de virage, le vent empêche de redresser la moto.
Ce sont des situations qui sont tout sauf confortables. De mon point de vue, ça me serait bien plus utile qu'un antipatinage ou un ABS en virage (je ne freine jamais sur l'angle). 22-02-2024 12:29
+2 !
22-02-2024 15:14Rien qu'avec une V-Strom plutôt pauvre en carénage et de gabarit moyen, j'ai déjà laisser quelques pliures sur la selle lors de serrage de fondement... Dans le coin, le Bassin d'Arcachon qui est traite : soit tu as un microclimat clément qui peut débouler sur des vents costauds quand tu sors du Bassin, soit une belle petite galerne si tu restes sur le Bassin
Vu que c'est Honda qui développe, je vois bien ça sur la plate-forme 1100.
Ça m'est arrivé... et il y avait une voiture (sur la même file). A suivre...
24-02-2024 19:56